Analog Devices Inc. AD3530/AD3530R 8-Kanal-16-Bit-DACs
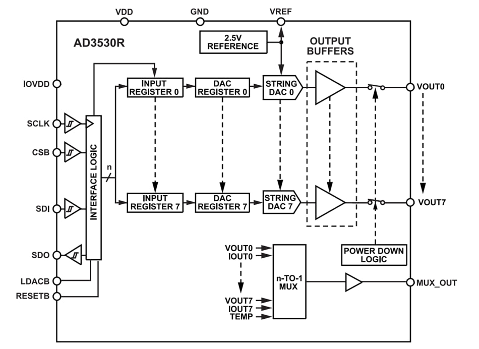
Die Analog Devices AD3530/AD3530R 16-Bit 8-Kanal-Digital-Analog-Wandler (DACs) verfügen über softwareprogrammierbare Verstärkungssteuerungen, die zu Full-scale-Ausgangsspannungen von 2,5 V oder 5 V für Referenzspannungen von 2,5 V führen. Die Bauteile werden in einzelnen Versorgungsbereichen von 2,7 V bis 5,5 V betrieben und sind durch die Konstruktion monoton zertifiziert. Der AD3530R bietet auch eine 2,5 V, 5ppm/°C interne Referenz, die standardmäßig deaktiviert ist.die AD3530/AD3530R DACs von ADI enthalten integrierte Multiplexer, die die Überwachung von Ausgangsspannungen, Strömen und interner Chip-Temperatur ermöglichen. Die Bauteile kombinieren Power-on-Reset-Schaltungen (POR), die die Ausgangsleistung des DACs bis zu und bei 32 kΩ zur Masse bestätigen, bis ein gültiger Schreibvorgang ausgeführt wird. Darüber hinaus enthalten die DACs Abschaltmodi, die den Stromverbrauch bis hinunter auf 670 μA (typisch) reduzieren.
Die Serielle Peripherieschnittstelle (SPI) und MICROWIRE®-kompatible, 4-polige Serielle Schnittstelle funktioniert auf Logikpegeln von nur 1,08 V bis zu 1,98 V und Taktraten bis zu 50 MHz.
Die AD3530/AD3530R sind in 2,1 mm × 2,2 mm, 25-ball WLCSP-Gehäusen untergebracht.
Merkmale
- 16-bit-Auflösung, ±3 LSB16 INL, ±1 LSB16 DNL
- TUE: ±0,22 % FSR Max.
- Offset-Fehler von max. ±1,6 mV
- Verstärkungsfehler von ±0,26 % von FSR (max.)
- Garantierter Quellstrom von 50 mA
- Extrem geringe Reserven: 25 mV bei 20 mA Last
- 2,5 V Interne Spannungsreferenz, 5 ppm/°C, typ.
- 62 nV/√Hz Spektrale Rauschdichte (externe Referenz)
- 115 nV/√Hz Spektrale Rauschdichte (interne Referenz)
- Ausgangsspannungs-, Strom- und Chip-Temperaturwächter
- 50 MHz SPI-Schreiben und Lesen
- 2,7 V bis 5,5 V Stromversorgungsbereich
- 1,2 V- oder 1,8 V-kompatible Digitalschnittstelle
- Betriebstemperaturbereich von --40 °C bis + +125 °C
- Kleines 2,1 mm x 2,2 mm, 25-ball WLCSP-Gehäuse
Applikationen
- Optische TRANSCEIVER
- Prüf- und Messsysteme
- Industrieautomatisierung
- Datenerfassungssysteme
FUNKTIONALES BLOCKDIAGRAMM
