Analog Devices Inc. DC3008A Demonstrationsschaltung für LT8386
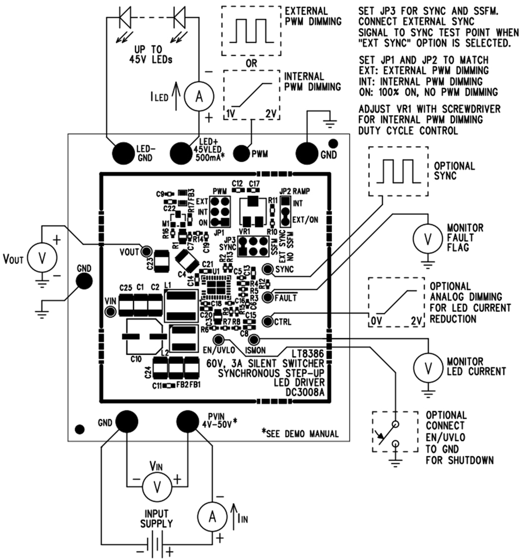
Die Analog Devices DC3008A Demonstrationsschaltung für LT8386 ist ein synchroner 3-A-Silent Switcher-LED-Aufwärtstreiber mit 60 V, der über den LT8386 verfügt. Das Bauteil treibt eine einzelne Kette von LEDs bei 500 mA bis zu 45 V an, wenn VIN zwischen 4 V und 40 V liegt. Das Bauteil läuft bis auf VIN mit reduzierter ILED und kann VIN bis zu 50 V widerstehen, verfügt aber über eine Überspannungssperre (OVLO), die für diese Applikation auf 45 V eingestellt ist. Die DC3008A wird mit einer Schaltfrequenz von 340 kHz betrieben. Die Frequenzspreizungsmodulation (SSFM) kann mit einer einfachen Steckbrücke für eine Reduzierung von EMI eingeschaltet werden. Die DC3008A von Analog Devices verfügt über niedrige EMI-Funktionen, einschließlich optimiertes Layout, SSFM und Eingangs-EMI-Filter.Die Schaltung ist sowohl gegen offene als auch gegen kurze LED-Bedingungen geschützt und meldet Fehler. Der LT8386 Aufwärtswandler verfügt über einen Eingangsspannungsbereich von 4 V bis 56 V. Seine internen synchronen 60-V-Schalter mit 3,3 A ermöglichen LEDs von bis zu 52 V (mit angepassten FB-Widerständen) am Ausgang mit Platz für Überspannungsschutz und Überschwingung während eines offenen LED-Ereignisses. Das Bauteil verfügt über eine einstellbare Schaltfrequenz zwischen 200 kHz und 2 MHz. Es kann mit einer externen Quelle synchronisiert oder mit SSFM für niedrige EMI programmiert werden. Der PWMTG High-Side-PWM-MOSFET-Treiber unterstützt die Kurzschluss-Sicherung und die Vielseitigkeit. Der LT8386 kann als Aufwärts-, Aufwärts-Abwärts- oder Abwärtsmodus-LED-Treiber konfiguriert werden und verfügt über niedrige EMI-, PWM-Verdunkelungs- und Fehlerdiagnosefunktionen.
Der LT8386 kann mit einem externen PWM-Signal oder einem intern generierten PWM-Signal verdunkelt werden. Der DC3008A verfügt über eine Steckbrücke, die zwischen einem intern generiertem PWM-Signal, extern generierten PWM-Signal und keinem PWM-Signal (100 % ON) umgeschaltet werden kann. Das Bauteil kann mit einer Steuerspannung auf seinem Steuerpin (STRG) analog verdunkelt werden. Beim Betrieb mit PWM-Verdunkelung und SSFM richtet sich die SSFM mit dem PWM-Signal für einen flimmerfreien Betrieb aus.
Kleine Eingangs- und Ausgangs-Keramikkondensatoren werden verwendet, um Platz und Kosten zu sparen. Das Board ist mit kleinen Hochfrequenzkondensatoren auf beiden Seiten der VOUT-Pins zur Reduzierung von Emissionen ausgelegt. Der offene LED-Überspannungsschutz verwendet die Konstantspannungsschleife des ICs, um den Ausgang auf ca. 57 V zu regeln, wenn die LED-Kette geöffnet wird. Der Ausgangsstrom kann über den ISMON-Testpunkt überwacht werden. Die Unterspannungs- und Überspannungssperre kann auf der Schaltung mit ein paar einfachen Widerstandsoptionen eingestellt werden. Am Eingang des DC3008A befindet sich ein EMI-Filter.
Testeinrichtung
