Diodes Incorporated AP2205 ULDO-Regler mit großem Eingangsspannungsbereich
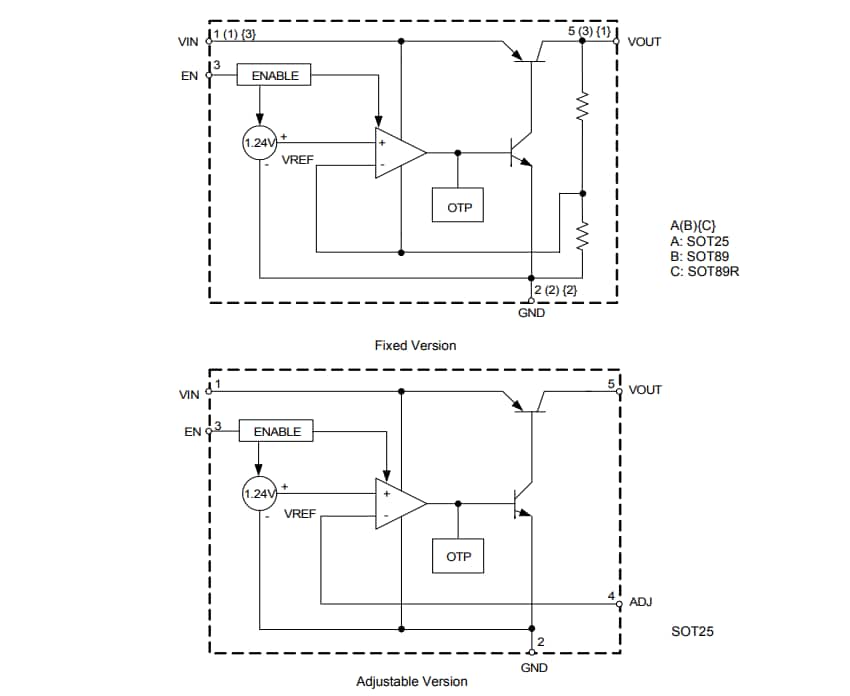
Diodes Inc. AP2205 ULDO-Regler verfügen über einen großen Eingangsspannungsbereich, eine hohe Genauigkeit, eine hohe Welligkeitsunterdrückung, eine Low-Dropout-Spannung, ein geringes Rauschen, eine Strombegrenzung und einen geringen Ruhestrom. Der AP2205 wird durch einen Hochspannungs-EPNP erzeugt und eignet sich hervorragend für den Einsatz in verschiedenen USB- und tragbaren Geräten.Der AP2205 Regler besteht aus einer Spannungsreferenz, einem Fehlerverstärker, einem Widerstandsnetzwerk zur Einstellung der Ausgangsspannung, einer Strombegrenzungsschaltung für den Stromschutz und einer Chip-fähigen Schaltung. Darüber hinaus bietet der AP2205 einen stromsparenden Abschaltmodus, der für eine längere Batterienlaufzeit, einen Überstromschutz, einen Übertemperaturschutz sowie einen Batterie-Verpolungsschutz ausgelegt ist.
Das Bauteil bietet einen großen Eingangsspannungsbereich von 2,3 V bis 24 V und einen Ausgangsspannungsbereich von 1,24 V bis 22 V. Der AP2205 ist in einem kompakten SOT25- und SOT89-Gehäuse mit Festspannungsversionen von 1,5 V, 1,8 V, 2,5 V, 2,8 V, 3,0 V, 3,3 V, 5,0 V und einer anpassbaren Spannungsversion verfügbar.
Merkmale
- Großer Eingangsspannungsbereich: 2,3 V bis 24 V
- Großer Ausgangsspannungsbereich: 1,24 V bis 22 V
- Ausgezeichnete Welligkeitsunterdrückung: 60 dB bei f=1 kHz
- Niedrige Dropout-Spannung: VDROP = 100 mV bei IOUT = 100 μA
- Niedriger Erdstrom
- Hohe Ausgangsspannungsgenauigkeit
- Kompatibel mit Keramikkondensatoren mit niedriger ESR
- Hervorragende Leitungs- und Lastregelung
- Thermische Shutdown-Funktion
Applikationen
- Batteriebetriebene Geräte
- Laptop, Palmtops, Notebook-Computer
- Tragbare Datengeräte
- Industrie-/Fahrzeuganwendungen
Blockdiagramm
