Microchip Technology UCS2113-C USB-Leistungsschalter und Stromüberwachungen
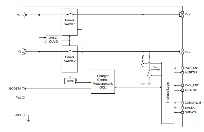
Microchip Technology UCS2113-C Leistungsschalter und Stromüberwachungen mit zwei USB-Anschlüssen liefern einen Dauerstrom von 3 A pro VBUS-Anschluss mit präziser Überstrombegrenzung (OCL). Darüber hinaus verfügt der UCS2113-C über eine Anschlussleistungsschalter-Freigabe, eine Fehlerbehandlung mit automatischer Wiederherstellung, eine Unterspannungs- und Überspannungssperre, einen Back-Drive- und Rückspannungsschutz sowie einen thermischen Schutz.Die UCS2113-C Leistungsschalter und Stromüberwachungen mit zwei USB-Anschlüssen von Microchip eignen sich hervorragend für eigenständige Applikationen und Applikationen mit SMBus-/I2C-Kommunikationen. Bei Applikationen mit SMBus bieten die UCS2113-C eine Stromüberwachung für jeden Anschluss sowie drei programmierbare Stromgrenzen pro Schalter von 3,5 A bis 5,2 A. Außerdem kann für jeden Anschluss die Ladung zwischen 3,8 mAh und 246,3 Ah rationiert werden. Im eigenständigen Modus können mit der UCS2113-C für beide Schalter drei Stromgrenzen zwischen 3,5 A und 3,5 A bis 5,2 A bis 5,2 A und 5,2 A festgelegt werden. Beide Leistungsschalter verfügen über eine unabhängige VBUS-Entladefunktion.
Der UCS2113-C Leistungsschalter und die Stromüberwachungen mit zwei Anschlüssen sind in einem 20-Pin-QFN-Gehäuse von 4 x 4 mm verfügbar.
Merkmale
- Leistungsschalter mit zwei Anschlüssen:
- Quellenspannungsbereich: 2,9 V bis 5,5 V
- Dauerstrom pro VBUS-Anschluss mit einem Einschaltwiderstand von 40 mΩ pro Schalter: 3 A
- Unabhängige Anschluss-Leistungsschalter-Freigabe-Pins
- Aktive Drain-Ausgangspins mit DUAL-Fehler-ALERT#
- Auslösemodus-Strombegrenzungsverhalten
- Unterspannungs- und Überspannungssperre
- Back-Drive-, Rückspannungsschutz
- Fehlerbehandlung mit automatischer Wiederherstellung und niedrigem Prüfstrom
- BOOST#-Logikausgang zur Erhöhung des DC/DC-Wandlerausgangs unter großen Lastbedingungen
- Merkmale von SMBus 2.0/I2C-Modus:
- Drei programmierbare Strombegrenzungen, die jedem Leistungsschalter zugewiesen werden können
- Weitere SMBus-Adressen sind auf Anfrage erhältlich
- Block-Lesen/Schreiben
- Eigenständige Stromüberwachung (kein externer Messwiderstand erforderlich)
- Vollständig programmierbare Ladungs-Rationierung und -Verhalten pro Anschluss
- Automatische VBUS-Entladefunktion
- Großer Betriebstemperaturbereich: -40 °C bis +105 °C
- Erfüllt die Anforderungen der AEC-Q100-Automotive-Zuverlässigkeitsprüfung
Blockdiagramm
