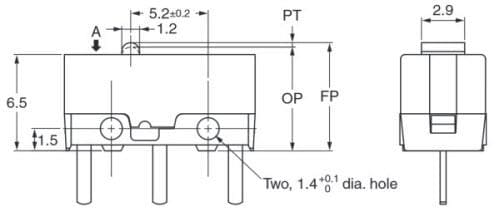
Omron Electronics D2FS Ultra Subminiature Basic Switch
Omron Electronics D2FS ultra subminiature basic switches are designed to be used in applications such as utility meters where actuation is sustained for a long period of time to detect door-tampering or open/close status. The simple construction allows continuous actuation over time with high reliability. Omron D2FS switches have SPST-NO contact form and are rated for 10,000 operations minimum at 0.1A @ 6VDC.Features
- Up to 500mm/second operating speed
- 100mOhm max contact resistance
- 0.1A current rating
- 6V voltage rating DC
- IP40 rating
- Contact form (SPST-NO)
Veröffentlichungsdatum: 2013-12-06
| Aktualisiert: 2022-03-11
