![]() | ||||||||||||||||||
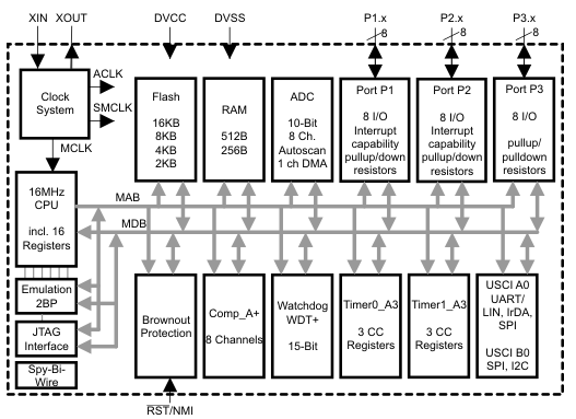
Texas Instruments MSP430G2x53 MCUsTexas Instruments MSP430G2x53 Microcontroller sind MCUs mit extrem geringem Energieverbrauch und einem eingebauten 16-Bit-Timer, bis zu 24 I/O berührungsempfindlichen Pins, einem versatilen analogen Komparator und eingebauter Kommunikationskapazität dank der Universal Serial Communication Interface. TI MSP430G2x53 MCUs besitzen außerdem einen 10-Bit-ADC. MSP430G2x53 MCUs gehören zur MSP430G2xx MSP430 Value Line mit bis zu 16 MIPS mit 1.8V-3.6V Betrieb. Diese TI MCUs mit extrem niedrigem Energieverbrauch haben einen energiesparenden Oszillator, interne Pull-up/Pull-down-Widerstände und Optionen mit geringer Pinanzahl.
| ||||||||||||||||||
| ||||||||||||||||||
Funktionsdiagramm ![]() | ||||||||||||||||||
![]() |
Veröffentlichungsdatum: 2012-01-20
| Aktualisiert: 2025-04-16





