Texas Instruments TPS2411EVM-096 Evaluierungsmodul
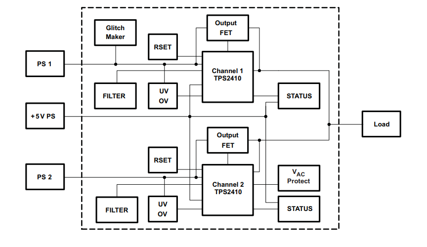
Das Texas Instruments TPS2411EVM-096 Evaluierungsmodul ermöglicht die Evaluierung der Referenzschaltung des TPS2411 ORing-Stromschienen-Controllers. Der TPS2411 emuliert die Funktion einer Diode mit niedriger Durchlassspannung zusammen mit einem externen n-Kanal-MOSFET. Das TPS2411EVM-096 Evaluierungsmodul bietet eine On-Board-LED, die eine Anzeige des Betriebsstatus und der Fehlerzustände bietet.Merkmale
- Zweikanal-ORing-Steuerung von 0,8 V bis 16,5 V
- Unterstützt außerdem eine Standard-ORing-Konfiguration und einen MOSFET im Kreuzschaltungsbetrieb für die bidirektionale Sperrung
- Programmierbare Überspannungsabschaltung und Unterspannung
- On-Board-LED bietet eine Anzeige des Betriebsstatus und der Fehlerzustände
Layout
Blockdiagramm
Veröffentlichungsdatum: 2019-10-25
| Aktualisiert: 2024-01-12
