Toshiba TMPM471F10FG 32-Bit-Mikrocontroller
Der Toshiba TMPM471F10FG 32-Bit-Mikrocontroller basiert auf dem ARM Cortex ® -M4-Prozessor mit FPU. Dieser Mikrocontroller wird in einem Frequenzbereich von 1 MHz bis 160 MHz und einem Spannungsbereich von 4,5 V bis 5,5 V betrieben. Der TMPM471F10FG Mikrocontroller unterstützt die FirmWare-Rotation mit der Memory-Swap-Funktion. Dieser Mikrocontroller verfügt eine maximale Flash-Speicherkapazität von 1 MB und kann bis zu 100.000 Programm-/Löschzyklen aufrechterhalten, was die Erweiterung der Gerätefunktionen unterstützt. Der TMPM471F10FG Mikrocontroller verfügt über einen 12-Bit-Analog-Digital-Wandler (ADC), eine I2C-Schnittstelle Version A (EI2C) und eine asynchrone serielle Schnittstelle (UART). Dieser Mikrocontroller wird in Applikationen, wie z. B. Motorgeräten, Stromversorgungen, Robotern, Waschmaschinen und Kühlschränken verwendet.Merkmale
- ARM Cortex-M4-Prozessor mit FPU:
- Betriebsfrequenzbereich: 1 MHz bis 160 MHz
- Speicherschutzeinheit (Memory Protection Unit, MPU)
- Stromsparmodus:
- Betriebsspannungsbereich: 4,5 V bis 5,5 V
- Leerlauf-, STOP1-Betrieb mit geringem Stromverbrauch
- Interner Speicher
- 1 MB Code-Flash, bis zu 100.000 Mal wiederbeschreibbar
- Der Code-Flash-Bereich ist parallel mit der Befehlsausführung auf einem anderen Code-Bereich neu beschreibbar
- 64 KB RAM mit Parität
- Uhr:
- 6 MHz bis 24 MHz (Keramik, Quarz) externer Hochgeschwindigkeits-Oszillator
- 6 MHz bis 10 MHz externer Hochgeschwindigkeits-Takteingang
- 10 MHz interner Hochgeschwindigkeits-Oszillator mit Benutzertrimmfunktion (IHOSC1)
- 160 MHz-Ausgang (Systemtakt) PLL
- 12-Bit-Analog-Digital-Wandler (ADC):
- 23 Eingänge in 2 Einheiten
- Umwandlungszeit: 0,6 µs
- Unterstützungsfunktion zur Selbstdiagnose
- Erweiterte programmierbare Motorsteuerungsschaltung (A-PMD):
- 2 Kanäle
- Komplementärer 3-Phasen-PWM-Ausgang und mit ADC synchronisiert
- Unterstützt verschachtelte 3-Phasen-PFC-Steuerung
- Not-Aus-Funktion durch externe Eingänge (EMG-Pin, OVV-Pin)
- 32-Bit-Timer-Ereigniszähler (T32A):
- 5 Kanäle als 32-Bit-Timer und 10 Kanäle als 16-Bit-Timer
- Intervalltimer, Ereigniszähler, Eingangserfassung, Phasendifferenzeingang, PPG-Ausgang, Sync-Start und Trigger-Start
- Watchdog-Timer (SIWDT):
- 1 Kanal
- Ein anderes Taktsystem als der Systemtakt kann ausgewählt werden
- Fenster, Interrupts und Reset-Ausgang löschen
Applikationen
- Industrieanwendungen:
- Umrichter
- Motorgeräte
- Leistungsregler
- Roboter
- Verbraucher
- Klimaanlagen
- Waschmaschinen
- Kühlschränke
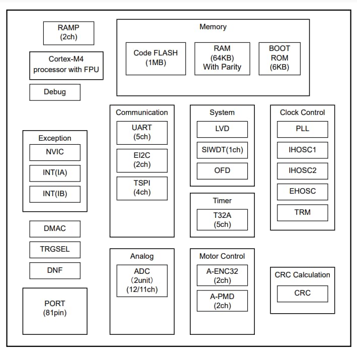
Blockdiagramm
Veröffentlichungsdatum: 2025-02-21
| Aktualisiert: 2025-04-17
